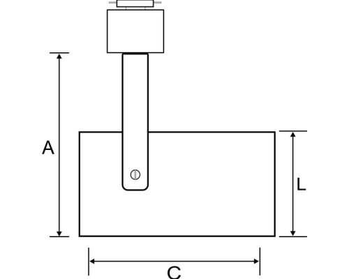
Spot projetor com foco direcionável para fixação em trilho eletrificado. Corpo fabricado em alumínio, acabamento em pintura eletrostática. Refletor em alumínio metalizado alto brilho.
* Opcional Grelha Honeycomb antifoscamento sob consulta.
**Montagem opcional com canopla para fixação sobreposta em laje ou forro sob consulta.
AL 0517
Spot





